Италия
Lightstar — итальянская компания, основанная в 2001 году, специализирующаяся на производстве осветительных решений для любых типов интерьеров. За более чем два десятилетия работы бренд стал известен не только своим высоким качеством, но и уникальной способностью сочетать традиционный итальянский стиль с современными технологическими инновациями. Каждый светильник бренда разрабатывается с учетом последних мировых тенденций в дизайне и освещении. В производстве используются самые разные материалы — от хрусталя и стекла до металла и высококачественных пластиков, что позволяет создавать продукцию с разнообразными стилями и функциями. Кроме того, бренд активно расширяет свои коллекции, предлагая как классические модели с элементами роскоши, так и современные решения для минималистичных интерьеров. Сотрудничество с известными дизайнерами и архитекторами позволяет Lightstar быть в авангарде мировых трендов в освещении. Сегодня продукция Lightstar присутствует на многих международных рынках, а также успешно используется в крупных проектах, таких как отели, рестораны и офисные здания, где важно создать не только качественное освещение, но и атмосферу, подчеркивающую стиль и элегантность пространства.

Смотрите от "LIGHTSTAR":
Люстры Потолочные люстры Белые потолочные люстры Подвесные люстры Люстры на штанге Каскадные люстры Светодиодные люстры Светильники Потолочные светильники Подвесные светильники Настенные светильники Настенно-потолочные светильники Накладные светильники Встраиваемые светильники Светильники карданные Линейные светильники Светильники для ванной Фонарные столбы и столбики Уличные потолочные светильники Уличные подвесные светильники Уличные настенные светильники Уличные встраиваемые светильники Трековые светильники Трековые светильники Шинопроводы Комплектующие к трековым светильникам Настольные лампы Настольные лампы для рабочего стола Настольные лампы для школьников Настольные лампы для гостиной Настольные лампы в детскую Настольные лампы для спальни Лампы настольные офисные Настольные лампы чёрные Белые настольные лампы Торшеры Торшеры для чтения Торшеры изогнутые Торшеры с 1 плафоном Торшеры с 2 и более плафонами Бра бра с подвесками Бра в форме шара Бра для чтения Бра светодиодные (LED) Белые бра Чёрные бра Бра хрустальные Споты Встраиваемые споты Накладные споты Споты с 1 плафоном Споты с 2 плафонами Комплектующие к светильникам и люстрам Лампы для светильников и люстр Плафоны для светильников и люстр Светодиодные ленты СКИДКИ%

Скидка
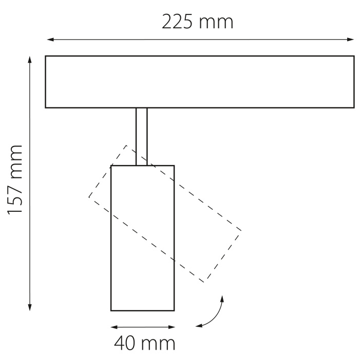
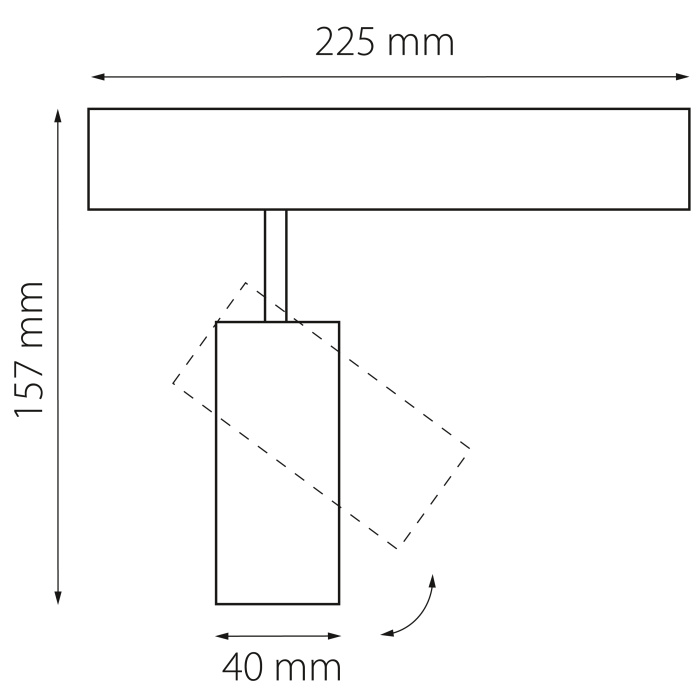
Светильник для трека PRO диммируемый Teta Lightstar 205317R
Светильник для трека PRO диммируемый Teta Lightstar 205317R
Светильник для трека PRO диммируемый Teta Lightstar 205317R
Светильник для трека PRO диммируемый Teta Lightstar 205317R
В наличии
Артикул
205317R
Бренд
LIGHTSTAR
Страна
Италия
1 999 5 146
Скидка
Светильник для трека PRO диммируемый Teta Lightstar 205127R
Светильник для трека PRO диммируемый Teta Lightstar 205127R
Светильник для трека PRO диммируемый Teta Lightstar 205127R
Светильник для трека PRO диммируемый Teta Lightstar 205127R
В наличии
Артикул
205127R
Бренд
LIGHTSTAR
Страна
Италия
1 999 6 055
Скидка
Светильник для трека PRO диммируемый Teta Lightstar 205117R
Светильник для трека PRO диммируемый Teta Lightstar 205117R
Светильник для трека PRO диммируемый Teta Lightstar 205117R
Светильник для трека PRO диммируемый Teta Lightstar 205117R
В наличии
Артикул
205117R
Бренд
LIGHTSTAR
Страна
Италия
1 599 4 253
Скидка
Светильник для трека PRO диммируемый Teta Lightstar 205037R
Светильник для трека PRO диммируемый Teta Lightstar 205037R
Светильник для трека PRO диммируемый Teta Lightstar 205037R
Светильник для трека PRO диммируемый Teta Lightstar 205037R
В наличии
Артикул
205037R
Бренд
LIGHTSTAR
Страна
Италия
1 999 6 439
Скидка
Светильник для трека PRO диммируемый Teta Lightstar 205027R
Светильник для трека PRO диммируемый Teta Lightstar 205027R
Светильник для трека PRO диммируемый Teta Lightstar 205027R
Светильник для трека PRO диммируемый Teta Lightstar 205027R
В наличии
Артикул
205027R
Бренд
LIGHTSTAR
Страна
Италия
1 999 5 463
Скидка
Светильник для трека PRO диммируемый Teta Lightstar 205017R
Светильник для трека PRO диммируемый Teta Lightstar 205017R
Светильник для трека PRO диммируемый Teta Lightstar 205017R
Светильник для трека PRO диммируемый Teta Lightstar 205017R
В наличии
Артикул
205017R
Бренд
LIGHTSTAR
Страна
Италия
1 999 5 441
Светильник для трека PRO диммируемый APP Teta Lightstar 205507
Светильник для трека PRO диммируемый APP Teta Lightstar 205507
Светильник для трека PRO диммируемый APP Teta Lightstar 205507
Светильник для трека PRO диммируемый APP Teta Lightstar 205507
Светильник для трека PRO диммируемый APP Teta Lightstar 205507
Светильник для трека PRO диммируемый APP Teta Lightstar 205507
Светильник для трека PRO диммируемый APP Teta Lightstar 205507
В наличии
Артикул
205507
Бренд
LIGHTSTAR
Страна
Италия
9 999
Светильник для трека PRO диммируемый APP Teta Lightstar 205506
Светильник для трека PRO диммируемый APP Teta Lightstar 205506
Светильник для трека PRO диммируемый APP Teta Lightstar 205506
Светильник для трека PRO диммируемый APP Teta Lightstar 205506
Светильник для трека PRO диммируемый APP Teta Lightstar 205506
Светильник для трека PRO диммируемый APP Teta Lightstar 205506
Светильник для трека PRO диммируемый APP Teta Lightstar 205506
В наличии
Артикул
205506
Бренд
LIGHTSTAR
Страна
Италия
9 999
Светильник для трека PRO диммируемый APP Teta Lightstar 205407
Светильник для трека PRO диммируемый APP Teta Lightstar 205407
Светильник для трека PRO диммируемый APP Teta Lightstar 205407
Светильник для трека PRO диммируемый APP Teta Lightstar 205407
Светильник для трека PRO диммируемый APP Teta Lightstar 205407
Светильник для трека PRO диммируемый APP Teta Lightstar 205407
В наличии
Артикул
205407
Бренд
LIGHTSTAR
Страна
Италия
4 999
Светильник для трека PRO диммируемый APP Teta Lightstar 205406
Светильник для трека PRO диммируемый APP Teta Lightstar 205406
Светильник для трека PRO диммируемый APP Teta Lightstar 205406
Светильник для трека PRO диммируемый APP Teta Lightstar 205406
Светильник для трека PRO диммируемый APP Teta Lightstar 205406
Светильник для трека PRO диммируемый APP Teta Lightstar 205406
В наличии
Артикул
205406
Бренд
LIGHTSTAR
Страна
Италия
4 999
Светильник для трека PRO диммируемый APP Teta Lightstar 205317
Светильник для трека PRO диммируемый APP Teta Lightstar 205317
Светильник для трека PRO диммируемый APP Teta Lightstar 205317
Светильник для трека PRO диммируемый APP Teta Lightstar 205317
Светильник для трека PRO диммируемый APP Teta Lightstar 205317
Светильник для трека PRO диммируемый APP Teta Lightstar 205317
Светильник для трека PRO диммируемый APP Teta Lightstar 205317
В наличии
Артикул
205317
Бренд
LIGHTSTAR
Страна
Италия
4 999
Светильник для трека PRO диммируемый APP Teta Lightstar 205316
Светильник для трека PRO диммируемый APP Teta Lightstar 205316
Светильник для трека PRO диммируемый APP Teta Lightstar 205316
Светильник для трека PRO диммируемый APP Teta Lightstar 205316
Светильник для трека PRO диммируемый APP Teta Lightstar 205316
Светильник для трека PRO диммируемый APP Teta Lightstar 205316
Светильник для трека PRO диммируемый APP Teta Lightstar 205316
В наличии
Артикул
205316
Бренд
LIGHTSTAR
Страна
Италия
4 999
Светильник для трека PRO диммируемый APP Teta Lightstar 205257
Светильник для трека PRO диммируемый APP Teta Lightstar 205257
Светильник для трека PRO диммируемый APP Teta Lightstar 205257
Светильник для трека PRO диммируемый APP Teta Lightstar 205257
Светильник для трека PRO диммируемый APP Teta Lightstar 205257
Светильник для трека PRO диммируемый APP Teta Lightstar 205257
Светильник для трека PRO диммируемый APP Teta Lightstar 205257
В наличии
Артикул
205257
Бренд
LIGHTSTAR
Страна
Италия
9 999
Светильник для трека PRO диммируемый APP Teta Lightstar 205256
Светильник для трека PRO диммируемый APP Teta Lightstar 205256
Светильник для трека PRO диммируемый APP Teta Lightstar 205256
Светильник для трека PRO диммируемый APP Teta Lightstar 205256
Светильник для трека PRO диммируемый APP Teta Lightstar 205256
Светильник для трека PRO диммируемый APP Teta Lightstar 205256
Светильник для трека PRO диммируемый APP Teta Lightstar 205256
В наличии
Артикул
205256
Бренд
LIGHTSTAR
Страна
Италия
9 999
Светильник для трека PRO диммируемый APP Teta Lightstar 205247
Светильник для трека PRO диммируемый APP Teta Lightstar 205247
Светильник для трека PRO диммируемый APP Teta Lightstar 205247
Светильник для трека PRO диммируемый APP Teta Lightstar 205247
Светильник для трека PRO диммируемый APP Teta Lightstar 205247
Светильник для трека PRO диммируемый APP Teta Lightstar 205247
Светильник для трека PRO диммируемый APP Teta Lightstar 205247
В наличии
Артикул
205247
Бренд
LIGHTSTAR
Страна
Италия
7 999
Светильник для трека PRO диммируемый APP Teta Lightstar 205246
Светильник для трека PRO диммируемый APP Teta Lightstar 205246
Светильник для трека PRO диммируемый APP Teta Lightstar 205246
Светильник для трека PRO диммируемый APP Teta Lightstar 205246
Светильник для трека PRO диммируемый APP Teta Lightstar 205246
Светильник для трека PRO диммируемый APP Teta Lightstar 205246
Светильник для трека PRO диммируемый APP Teta Lightstar 205246
В наличии
Артикул
205246
Бренд
LIGHTSTAR
Страна
Италия
7 999
Светильник для трека PRO диммируемый APP Teta Lightstar 205226
Светильник для трека PRO диммируемый APP Teta Lightstar 205226
Светильник для трека PRO диммируемый APP Teta Lightstar 205226
Светильник для трека PRO диммируемый APP Teta Lightstar 205226
Светильник для трека PRO диммируемый APP Teta Lightstar 205226
Светильник для трека PRO диммируемый APP Teta Lightstar 205226
Светильник для трека PRO диммируемый APP Teta Lightstar 205226
В наличии
Артикул
205226
Бренд
LIGHTSTAR
Страна
Италия
5 999
Светильник для трека PRO диммируемый APP Teta Lightstar 205217
Светильник для трека PRO диммируемый APP Teta Lightstar 205217
Светильник для трека PRO диммируемый APP Teta Lightstar 205217
Светильник для трека PRO диммируемый APP Teta Lightstar 205217
Светильник для трека PRO диммируемый APP Teta Lightstar 205217
Светильник для трека PRO диммируемый APP Teta Lightstar 205217
Светильник для трека PRO диммируемый APP Teta Lightstar 205217
В наличии
Артикул
205217
Бренд
LIGHTSTAR
Страна
Италия
3 999
Светильник для трека PRO диммируемый APP Teta Lightstar 205216
Светильник для трека PRO диммируемый APP Teta Lightstar 205216
Светильник для трека PRO диммируемый APP Teta Lightstar 205216
Светильник для трека PRO диммируемый APP Teta Lightstar 205216
Светильник для трека PRO диммируемый APP Teta Lightstar 205216
Светильник для трека PRO диммируемый APP Teta Lightstar 205216
В наличии
Артикул
205216
Бренд
LIGHTSTAR
Страна
Италия
3 999
Светильник для трека PRO диммируемый APP Teta Lightstar 205127
Светильник для трека PRO диммируемый APP Teta Lightstar 205127
Светильник для трека PRO диммируемый APP Teta Lightstar 205127
Светильник для трека PRO диммируемый APP Teta Lightstar 205127
Светильник для трека PRO диммируемый APP Teta Lightstar 205127
Светильник для трека PRO диммируемый APP Teta Lightstar 205127
Светильник для трека PRO диммируемый APP Teta Lightstar 205127
В наличии
Артикул
205127
Бренд
LIGHTSTAR
Страна
Италия
5 999
Светильник для трека PRO диммируемый APP Teta Lightstar 205126
Светильник для трека PRO диммируемый APP Teta Lightstar 205126
Светильник для трека PRO диммируемый APP Teta Lightstar 205126
Светильник для трека PRO диммируемый APP Teta Lightstar 205126
Светильник для трека PRO диммируемый APP Teta Lightstar 205126
Светильник для трека PRO диммируемый APP Teta Lightstar 205126
Светильник для трека PRO диммируемый APP Teta Lightstar 205126
В наличии
Артикул
205126
Бренд
LIGHTSTAR
Страна
Италия
5 999
Светильник для трека PRO диммируемый APP Teta Lightstar 205117
Светильник для трека PRO диммируемый APP Teta Lightstar 205117
Светильник для трека PRO диммируемый APP Teta Lightstar 205117
Светильник для трека PRO диммируемый APP Teta Lightstar 205117
Светильник для трека PRO диммируемый APP Teta Lightstar 205117
Светильник для трека PRO диммируемый APP Teta Lightstar 205117
Светильник для трека PRO диммируемый APP Teta Lightstar 205117
В наличии
Артикул
205117
Бренд
LIGHTSTAR
Страна
Италия
3 999
Светильник для трека PRO диммируемый APP Teta Lightstar 205116
Светильник для трека PRO диммируемый APP Teta Lightstar 205116
Светильник для трека PRO диммируемый APP Teta Lightstar 205116
Светильник для трека PRO диммируемый APP Teta Lightstar 205116
Светильник для трека PRO диммируемый APP Teta Lightstar 205116
Светильник для трека PRO диммируемый APP Teta Lightstar 205116
В наличии
Артикул
205116
Бренд
LIGHTSTAR
Страна
Италия
3 999
Светильник для трека PRO диммируемый APP Teta Lightstar 205037
Светильник для трека PRO диммируемый APP Teta Lightstar 205037
Светильник для трека PRO диммируемый APP Teta Lightstar 205037
Светильник для трека PRO диммируемый APP Teta Lightstar 205037
Светильник для трека PRO диммируемый APP Teta Lightstar 205037
Светильник для трека PRO диммируемый APP Teta Lightstar 205037
Светильник для трека PRO диммируемый APP Teta Lightstar 205037
В наличии
Артикул
205037
Бренд
LIGHTSTAR
Страна
Италия
6 499
Светильник для трека PRO диммируемый APP Teta Lightstar 205036
Светильник для трека PRO диммируемый APP Teta Lightstar 205036
Светильник для трека PRO диммируемый APP Teta Lightstar 205036
Светильник для трека PRO диммируемый APP Teta Lightstar 205036
Светильник для трека PRO диммируемый APP Teta Lightstar 205036
Светильник для трека PRO диммируемый APP Teta Lightstar 205036
Светильник для трека PRO диммируемый APP Teta Lightstar 205036
В наличии
Артикул
205036
Бренд
LIGHTSTAR
Страна
Италия
6 499
Светильник для трека PRO диммируемый APP Teta Lightstar 205027
Светильник для трека PRO диммируемый APP Teta Lightstar 205027
Светильник для трека PRO диммируемый APP Teta Lightstar 205027
Светильник для трека PRO диммируемый APP Teta Lightstar 205027
Светильник для трека PRO диммируемый APP Teta Lightstar 205027
Светильник для трека PRO диммируемый APP Teta Lightstar 205027
Светильник для трека PRO диммируемый APP Teta Lightstar 205027
В наличии
Артикул
205027
Бренд
LIGHTSTAR
Страна
Италия
5 999
Светильник для трека PRO диммируемый APP Teta Lightstar 205026
Светильник для трека PRO диммируемый APP Teta Lightstar 205026
Светильник для трека PRO диммируемый APP Teta Lightstar 205026
Светильник для трека PRO диммируемый APP Teta Lightstar 205026
Светильник для трека PRO диммируемый APP Teta Lightstar 205026
Светильник для трека PRO диммируемый APP Teta Lightstar 205026
Светильник для трека PRO диммируемый APP Teta Lightstar 205026
В наличии
Артикул
205026
Бренд
LIGHTSTAR
Страна
Италия
5 999
Светильник для трека PRO диммируемый APP Teta Lightstar 205017
Светильник для трека PRO диммируемый APP Teta Lightstar 205017
Светильник для трека PRO диммируемый APP Teta Lightstar 205017
Светильник для трека PRO диммируемый APP Teta Lightstar 205017
Светильник для трека PRO диммируемый APP Teta Lightstar 205017
Светильник для трека PRO диммируемый APP Teta Lightstar 205017
Светильник для трека PRO диммируемый APP Teta Lightstar 205017
В наличии
Артикул
205017
Бренд
LIGHTSTAR
Страна
Италия
4 999
Светильник для трека PRO диммируемый APP Teta Lightstar 205016
Светильник для трека PRO диммируемый APP Teta Lightstar 205016
Светильник для трека PRO диммируемый APP Teta Lightstar 205016
Светильник для трека PRO диммируемый APP Teta Lightstar 205016
Светильник для трека PRO диммируемый APP Teta Lightstar 205016
Светильник для трека PRO диммируемый APP Teta Lightstar 205016
Светильник для трека PRO диммируемый APP Teta Lightstar 205016
В наличии
Артикул
205016
Бренд
LIGHTSTAR
Страна
Италия
4 999
Светильник для трека NOVE Nove Lightstar 208527
Светильник для трека NOVE Nove Lightstar 208527
Светильник для трека NOVE Nove Lightstar 208527
Светильник для трека NOVE Nove Lightstar 208527
В наличии
Артикул
208527
Бренд
LIGHTSTAR
Страна
Италия
15 999
Светильник для трека NOVE Nove Lightstar 208437
Светильник для трека NOVE Nove Lightstar 208437
Светильник для трека NOVE Nove Lightstar 208437
Светильник для трека NOVE Nove Lightstar 208437
В наличии
Артикул
208437
Бренд
LIGHTSTAR
Страна
Италия
55 999
Светильник для трека NOVE Nove Lightstar 208432
Светильник для трека NOVE Nove Lightstar 208432
Светильник для трека NOVE Nove Lightstar 208432
Светильник для трека NOVE Nove Lightstar 208432
В наличии
Артикул
208432
Бренд
LIGHTSTAR
Страна
Италия
55 999
Светильник для трека NOVE Nove Lightstar 208417
Светильник для трека NOVE Nove Lightstar 208417
Светильник для трека NOVE Nove Lightstar 208417
Светильник для трека NOVE Nove Lightstar 208417
В наличии
Артикул
208417
Бренд
LIGHTSTAR
Страна
Италия
34 999
Светильник для трека NOVE Nove Lightstar 208412
Светильник для трека NOVE Nove Lightstar 208412
Светильник для трека NOVE Nove Lightstar 208412
Светильник для трека NOVE Nove Lightstar 208412
В наличии
Артикул
208412
Бренд
LIGHTSTAR
Страна
Италия
34 999
Светильник для трека NOVE Nove Lightstar 208327
Светильник для трека NOVE Nove Lightstar 208327
Светильник для трека NOVE Nove Lightstar 208327
Светильник для трека NOVE Nove Lightstar 208327
В наличии
Артикул
208327
Бренд
LIGHTSTAR
Страна
Италия
17 999
Светильник для трека NOVE Nove Lightstar 208317
Светильник для трека NOVE Nove Lightstar 208317
Светильник для трека NOVE Nove Lightstar 208317
Светильник для трека NOVE Nove Lightstar 208317
В наличии
Артикул
208317
Бренд
LIGHTSTAR
Страна
Италия
10 999
Для улучшения работы сайта мы используем файлы cookie. Продолжая использовать сайт, вы соглашаетесь с использованием файлов cookies.